■■ Extention Tubes M 使用説明書 ■■
|
| 作者:四畳半の住人 |
 |
Extention Tubes M 使用説明書です。中古品って取説がないのがほとんどです。見たい人は見たいですよね。故にYahooなどのオークションでは、たった一枚の紙の取説を高値で売っていたりします。前に見かけたこの取説は1500円で出品されていました。いくらなんでも高いですよね。必要な人がいるかもしれないのでここに写しを置いておきます。紙1枚に1500円も払うなんてもったいない。
お買い上げありがとうございます。
キャノン エクステンションチューブMはキャノン一眼レフとFDレンズ、FLレンズの中間につなぎ、手動絞りにより接写を行うための簡易中間チューブです。
Mチューブには、厚さが5mm、10mm、20mmの3種類があり、5mm、10mm、20mm、20mmの4個1組でMセットを構成しています。Mセットは、組合せ方で5mmから55mmまで5mmおきに長さを変えられますから、標準レンズに接続して等倍(実物大)までの接写が段階的に行なえます。この撮影倍率は、クローズアップレンズとの組合せによっても変えることができます。したがって、野外に携帯して、昆虫や草花などの記録に、有利にご利用いただけます。
Mチューブは、べローズ、マクロフォトカプラーFLおよびバリエクステンションチューブに接続できますから、さらに高倍率の拡大撮影に、補助的に利用することができます。
接続
エクステンションチューブMの組合せを外す場合は、締め付けリングを矢印方向に回して下さい。
取り付ける時は、締付けリング上の赤点(赤点とリング下部の位置ぎめピンが合っていることを確認)と、相手側の切欠き溝を合わせてはめ込み、締付けリングを写真の矢印と逆方向に回します。
カメラにチューブを付ける時も同じ要領です。
チューブにレンズを取り付けるには、ボディにレンズを取付ける要領で行いますが、自動絞りが連動しませんので、あらかじめレンズを手動絞りにセットしてください。
手動絞りにセットするには、締付けリングをもつFDの場合、絞りレバーを反時計方向に回して固定します。締付けリングのないFDレンズは、付属の絞りレバーストッパーを用いて自動絞りレバーを写真のように固定します。匡、マクロレンズは前記に準じます。この状態で、チューブに取付け絞りリングを回すと絞り羽根が開閉します。
チューブとレンズの中間にマクロオートリングを併用すれば、手動絞りロックをせずに、ダブルケーブルレリーズにより自動絞り連動撮影ができます。但しその場合、オートリングの厚み分(10mm)チューブ長が伸び倍率が高くなります。
接続できるアダプター:オートべローズ、べローズM、べローズR、マクロオートリング、マクロフォトレンズアダプター、エクステンションチューブFLおよびM、レンズマウントコンバーターAおよびB、マクロフォトカプラーFL、エクステンションチューブFD-U、バリエクステンションチューブなど、
Mチューブを組合せて使用する場合には、M5を一番後回しにしてレンズ側に直接取り付けるようおすすめします。
露出倍数
中間リング類を用いてレンズを繰出すと、レンズの明るさは有効F値より暗くなり、外部露出計の値をそのまま使用すると、露出不足の結果を生じます。この現象はチューブを長くするほど大きくなりますから、取付けたチューブの長さによって、露出量をふやす必要があります。この補正量は、各撮影倍率に応じて裏の使用表にのせてありますから、ご利用ください。ただし、TTLメーターをもつキャノン一眼レフカメラの場合には必要ありません。
撮影
接写は一見複雑のようですが、表を利用すれば、意外に楽な手順で撮影ができます。実際の撮影に当たっては、
ピントの合う範囲(被写界深度)が浅くなりますから、なるべくF8以上に絞り込み、その状態をファインダーで観察確認してください。
ぶれ防止のために三脚とレリーズをご使用ください。
撮影手順
使用表をご利用ください。使用表は撮影倍率、チューブの組合せ、画界、撮影距離、露出倍数および絞りを開く量が縦に読み取れますから、
- 撮影倍率(被写体の大きさ)を決め、チューブの組合せを選びます。
- 撮影距離に合わせてカメラをセットし、ピントを合わせます。
この撮影距離は、カメラのフィルム位置マークからはかります。
- 露出をはかります。
TTLメーターの場合は、一般的には測定値通りの露出、外部メーターの場合は測定値に対して、絞りまたはシャッター速度を調節します。
- 実際に絞り込んでピントおよび画像を確認します。
- シャッターを切ります。
外部メータは入射光式をおすすめします。
露出補正のしかた
接写の場合には、被写界深度が浅くなりますから、レンズを絞った方が良質の画像が得られることになります。したがって、露出の補正には、動体は別として、なるべくシャッタースピードをおそくするような調整方法をおすすめします。絞りを開く量が2-1/2であれば、シャッターを2段おそくし、絞りを1/2段開けば同じ結果が得られるわけです。(シャッターを3段おそくして、絞りを1/2段絞っても良い)端数の調節は、フィルム感度により調節します。
都合により製品の仕様および外観の一部を予告なく変更することがあります。
 |
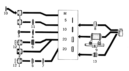
| 1. | 標準レンズ | 8. | エクステンションチューブFD |
| 2. | マクロレンズ | 9. | オートべローズまたはべローズM |
| 3. | マクロフォトレンズ | 10. | クローズアップレンズ |
| 4. | マクロフォトレンズアダプター | 11. | マクロオートリング (ダブルケーブルレリーズ併用) |
| 5. | マクロフォトカプラー (48,55,58mm)(ねじ用) | 12. | マクロフード |
| 6. | マクロフォトカプラーFL | 13. | バリエクステンションチューブ M15-20、M30-55 |
| 7. | レンズマウントコンバータA |
│付表:エクステンションチューブMを併用した場合のデータ│
│カメラ関係データ覚え書き│
四畳半の住人│
2001年03月25日作成